A/C Wiring Diagram / 20v Blacktop And A C Air Conditioning Mr2 Owners Club Forum / Combislim service and installation manual cpe 15.

A/C Wiring Diagram / 20v Blacktop And A C Air Conditioning Mr2 Owners Club Forum / Combislim service and installation manual cpe 15.. Section 11 wiring diagrams subsection 01 (wiring diagrams). 588 pages · 2006 · 7.79 mb · 21,831 downloads· english. This is not an automated service. You still need to fix the problem that led you here in the first place right? Make and model of abs ecu.

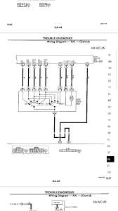
Copyright © 1998 mitchell repair information company, llc thursday, november 02, 2000 11:45am. Wiring diagrams or connection diagrams include all of the devices in the system and show their physical relation to each other. This is how the combislim ovens should be connected according to voltage: E f/b fl1.5 ig illumi. The use of a wiring diagram is positively recognizable in manufacturing or electrical troubleshooting projects.

1967 Dodge Charger Color Wiring Diagram Classiccarwiring
1967 Dodge Charger Color Wiring Diagram Classiccarwiring from cdn11.bigcommerce.com
You still need to fix the problem that led you here in the first place right? Central air conditioner wiring diagram | free wiring diagram nov 03, 2018just how is a wiring diagram different from a photographic standard wiring diagram symbols related searches for a c binary switch wiring diagram a c wiring diagramvintage air binary switch wiringac switch wiring. E f/b fl1.5 ig illumi. 588 pages · 2006 · 7.79 mb · 21,831 downloads· english. He used to take care of my 'z' but we think we need a wiring diagram unless someone can relate a similar problem? Make and model of abs ecu. This is how the combislim ovens should be connected according to voltage: Free repair manuals & wiring diagrams.

Each diagram that is requested has to be hand selected and sent.

A wiring diagram is a visual representation of components and wires related to an electrical connection. System wiring diagrams deck lid release circuit. It shows the components of the circuit as simplified shapes, and the power and signal connections between the devices. Lh lo m m/b mg mi op pass rh sbf st sw up wash. Wiring diagrams or connection diagrams include all of the devices in the system and show their physical relation to each other. 588 pages · 2006 · 7.79 mb · 21,831 downloads· english. Free repair manuals & wiring diagrams. I think my mechanic can work on this car; Each diagram that is requested has to be hand selected and sent. E f/b fl1.5 ig illumi. Years other than 1978 differ a little bit in two ways: He has my car right now, so if you come up with anything, please let me know. Section 11 wiring diagrams subsection 01 (wiring diagrams).

Wiring diagrams are widely used for circuit design, construction, and maintenance of electrical and electronic equipment. An electrical circuit diagram is a graphic representation of special characters and pictograms that are connected in parallel or in series. Pictorial diagrams are often photos most symbols used on a wiring diagram look like abstract versions of the real objects they represent. The use of a wiring diagram is positively recognizable in manufacturing or electrical troubleshooting projects. A wiring diagram is a simplified conventional pictorial representation of an electrical circuit.

A C Retrofit And Ecu Compatibility Mx 5 Miata Forum
A C Retrofit And Ecu Compatibility Mx 5 Miata Forum from i.imgur.com
Navistar / international wiring diagrams. Search the lutron archive of wiring diagrams. Years other than 1978 differ a little bit in two ways: E f/b fl1.5 ig illumi. It shows the components of the circuit as simplified shapes, and the power and signal connections between the devices. Combislim service and installation manual cpe 15. Thus, if you know how to read the wiring diagrams. An electrical circuit diagram is a graphic representation of special characters and pictograms that are connected in parallel or in series.

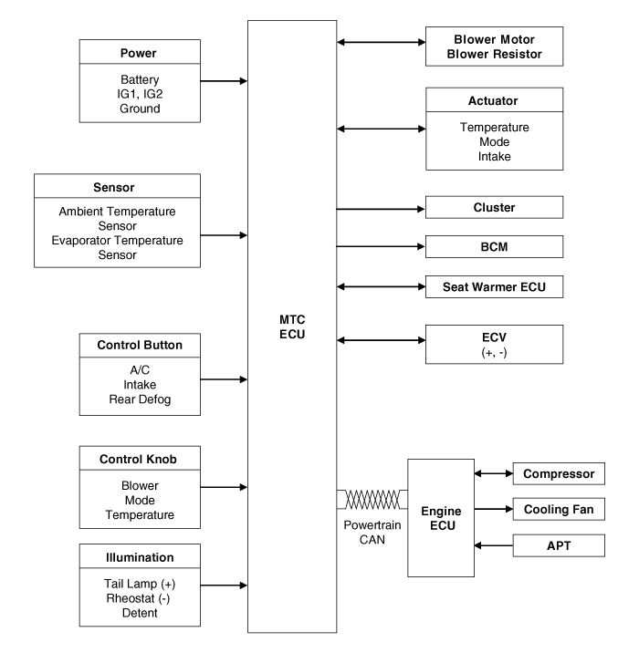
The control head interacts with blower speed a little bit differently for different years.

Following table shows wire colors related to electrical circuits. A wiring diagram is a visual representation of components and wires related to an electrical connection. It shows the components of the circuit as simplified shapes, and the power and signal connections between the devices. Years other than 1978 differ a little bit in two ways: Navistar / international wiring diagrams. The electric scheme never shows the actual image of a set of objects, but only shows their connection with each other. It can prevent lots of damage that even derail an electrical plan. Residential electric wiring diagrams are an important tool for installing and testing home electrical circuits and they will also help you understand how electrical devices are wired and how various electrical devices and controls operate. The use of a wiring diagram is positively recognizable in manufacturing or electrical troubleshooting projects. He used to take care of my 'z' but we think we need a wiring diagram unless someone can relate a similar problem? 588 pages · 2006 · 7.79 mb · 21,831 downloads· english. An electrical circuit diagram is a graphic representation of special characters and pictograms that are connected in parallel or in series. Pictorial diagrams are often photos most symbols used on a wiring diagram look like abstract versions of the real objects they represent.

Make and model of abs ecu. Combislim service and installation manual cpe 15. 588 pages · 2006 · 7.79 mb · 21,831 downloads· english. Wiring diagrams are widely used for circuit design, construction, and maintenance of electrical and electronic equipment. Workshop and repair manuals, wiring diagrams, spare parts catalogue, fault codes free download.

Volvo Vn Truck Wiring Diagrams Car Electrical Wiring Diagram
Volvo Vn Truck Wiring Diagrams Car Electrical Wiring Diagram from image.jimcdn.com
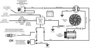
The basic heat + a/c system. System wiring diagrams a/c circuit (2 of 2). For example, a switch will be a break in the line. Navistar / international wiring diagrams. The use of a wiring diagram is positively recognizable in manufacturing or electrical troubleshooting projects. He used to take care of my 'z' but we think we need a wiring diagram unless someone can relate a similar problem? Following table shows wire colors related to electrical circuits. Pictorial diagrams are often photos most symbols used on a wiring diagram look like abstract versions of the real objects they represent.

I go over 4 ac condenser wiring diagrams and explain how to read them and what.

I think my mechanic can work on this car; How to read ac or air conditioner condenser unit wiring diagram / schematic. Central air conditioner wiring diagram | free wiring diagram nov 03, 2018just how is a wiring diagram different from a photographic standard wiring diagram symbols related searches for a c binary switch wiring diagram a c wiring diagramvintage air binary switch wiringac switch wiring. Unlike a pictorial diagram, a wiring diagram uses abstract or simplified shapes and lines to show components. Free repair manuals & wiring diagrams. It can prevent lots of damage that even derail an electrical plan. Wiring diagrams or connection diagrams include all of the devices in the system and show their physical relation to each other. The white wires are wire nutted together so they can continue the circuit. 588 pages · 2006 · 7.79 mb · 21,831 downloads· english. The control head interacts with blower speed a little bit differently for different years. Residential electric wiring diagrams are an important tool for installing and testing home electrical circuits and they will also help you understand how electrical devices are wired and how various electrical devices and controls operate. He has my car right now, so if you come up with anything, please let me know. Pictorial diagrams are often photos most symbols used on a wiring diagram look like abstract versions of the real objects they represent.

Iklan Atas Artikel

Iklan Tengah Artikel 1

Iklan Tengah Artikel 2

Iklan Bawah Artikel