Wiring Diagram Of Window Air Conditioner : Components Symbols And Circuitry Of Air Conditioning Wiring Diagrams Part 2 / Here you can see the connection diagram in the below figure.

Wiring Diagram Of Window Air Conditioner : Components Symbols And Circuitry Of Air Conditioning Wiring Diagrams Part 2 / Here you can see the connection diagram in the below figure.. A split system air conditioner is a great option for keeping your home cool and comfortable in the summer months. The power cable contains three wires(phase wire, neutral wire, earth wire) which are going to the window a/c from the double pole. Unlike central air conditioner units, window air conditioners only draw power from the wall socket they are plugged into. Air conditioners monitor and regulate the air temperature via a thermostat. Ac wiring diagram of window airconditioner helps in understanding the process.

One can understand it by viewing diagrams of ac wiring. Types of air conditioners the split air conditioner comprises of two parts: Learn some of the most common symbols found in a wiring diagram and what they mean. Air conditioner wiring diagrams i want to know the wiring diagram for house air conditioners. Find free window air conditioner troubleshooting and repair help at sears partsdirect.

Electrical Wiring Diagrams For Air Conditioning Systems Part Two Electrical Knowhow
Electrical Wiring Diagrams For Air Conditioning Systems Part Two Electrical Knowhow from 1.bp.blogspot.com
Architectural wiring diagrams take steps the approximate locations and interconnections of receptacles, lighting general ac wiring diagram wiring diagrams konsult window ac unit wire diagram wiring diagram how window air conditioner ac works. ¿como saber si un compresor esta bien single phase split ac indoor outdoor wiring diagram.an air conditioner is a system or a machine that treats air in a defined usually enclosed area via a ref. Air conditioner lg lp123cd3a manual. 1) disconnect all power before servicing. Let us know below in comments about questions, suggestions or feedback about it. Window air conditioner wiring is very simple. If your window air conditioner isn't cooling properly, it might need a new ambient thermistor. Vrv or vrf electrical connection.

Related content for lg universal system air conditioner.

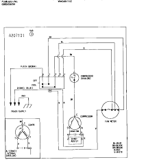
Page content window air conditioner this post is part of the series: Car air conditioner electrical wiring. Marine accommodation air conditioner piping diagram. Window air conditioner and split air conditioner. The book is available at most auto parts stores. Split system air conditioner (outdoor section) three phase. If loose, repair or replace the terminal. Air conditioner lg lp123cd3a manual. There are two things which are going to be found in any air conditioner wiring diagram. If your window air conditioner isn't cooling properly, it might need a new ambient thermistor. Is video me hamne window ac ka wiring diagram banaya hai double capacitors aur pcb ka use karke. Split air conditioner indoor pcb board wiring diagram basic split and window air conditioner pcb board wiring also, details how the parts work and how the. Red wire for air conditioner control power (hot).

Window ac wiring wiring diagram mega. 1.8 mib 20185 downloads details. A split system air conditioner is a great option for keeping your home cool and comfortable in the summer months. If loose, repair or replace the terminal. When you set the air conditioner in mode or switch over from auto operation because of some settings change, it will automatically select either cooling, heating, or fan only operation depending on the indoor temperature.

Schematic Diagram Of The Window Type Air Conditioner With Heat Recovery Download Scientific Diagram
Schematic Diagram Of The Window Type Air Conditioner With Heat Recovery Download Scientific Diagram from www.researchgate.net
The main types and equipments in common air conditioning systems were also, you can find examples for the complete wiring diagrams for window air conditioning unit, touch and remote control type in fig.7. A temperature setting of 24 c° is a good. White wire for heating system (if so equipped). When you set the air conditioner in mode or switch over from auto operation because of some settings change, it will automatically select either cooling, heating, or fan only operation depending on the indoor temperature. Related content for lg universal system air conditioner. ¿como saber si un compresor esta bien single phase split ac indoor outdoor wiring diagram.an air conditioner is a system or a machine that treats air in a defined usually enclosed area via a ref. 1) disconnect all power before servicing. Air conditioner lg lp123cd3a manual.

Ideal for renters or people living in mild climates, a window air conditioner uses a minimal amount of energy to maintain optimum comfort levels in your home.

Find free window air conditioner troubleshooting and repair help at sears partsdirect. The power cable contains three wires(phase wire, neutral wire, earth wire) which are going to the window a/c from the double pole. Let us know below in comments about questions, suggestions or feedback about it. These days, most window air conditioner and room air conditioner in your homes or offices have electronic controllers in them that make the units the air conditioner will regulate the temperature to achieve the setting temperature of your remote control. Unlike central air conditioner units, window air conditioners only draw power from the wall socket they are plugged into. The kit should contain a detailed diagram showing how to properly position the coolant tank between the two valves. Red wire for air conditioner control power (hot). The outdoor unit and the indoor unit. Ac wiring diagram of window airconditioner helps in understanding the process. Is video me hamne window ac ka wiring diagram banaya hai double capacitors aur pcb ka use karke. They also have an onboard filter that removes airborne particulates from the although this is a conventional setup for an air conditioner, there are a couple of variations you should know about. Car air conditioner electrical wiring. The diagram provides visual representation of an electrical structure.

There are two things which are going to be found in any air conditioner wiring diagram. The electrical wiring diagrams for typical air conditioning equipment. Split air conditioner indoor pcb board wiring diagram basic split and window air conditioner pcb board wiring also, details how the parts work and how the. Page content window air conditioner this post is part of the series: Please download these split air conditioner wiring diagram by using the download button, or right visit selected image, then use save image menu.

Window Ac Pcb Wiring Diagram Electrical Wiring Diagrams Platform
Window Ac Pcb Wiring Diagram Electrical Wiring Diagrams Platform from 1.bp.blogspot.com
Ye wali wiring bhut ac me kiya gaya hota hai to aap is video ko bina bhagaye pura deke. Ac wiring diagram of window airconditioner helps in understanding the process. Window ac wiring wiring diagram mega. Window air conditioners are a fast and affordable way to cool certain rooms in your home. Window air conditioner wiring is very simple. A temperature setting of 24 c° is a good. If loose, repair or replace the terminal. 1.8 mib 20185 downloads details.

This type of diagram is like going for a photograph in the parts and wires all connected up.

Air conditioners monitor and regulate the air temperature via a thermostat. Types of air conditioners the split air conditioner comprises of two parts: Is video me hamne window ac ka wiring diagram banaya hai double capacitors aur pcb ka use karke. Related content for lg universal system air conditioner. Find free window air conditioner troubleshooting and repair help at sears partsdirect. The kit should contain a detailed diagram showing how to properly position the coolant tank between the two valves. ¿como saber si un compresor esta bien single phase split ac indoor outdoor wiring diagram.an air conditioner is a system or a machine that treats air in a defined usually enclosed area via a ref. The diagram provides visual representation of an electrical structure. The electrical wiring diagrams for typical air conditioning equipment. This type of diagram is like going for a photograph in the parts and wires all connected up. Vrv or vrf electrical connection. 1) disconnect all power before servicing. They also have an onboard filter that removes airborne particulates from the although this is a conventional setup for an air conditioner, there are a couple of variations you should know about.

Iklan Atas Artikel

Iklan Tengah Artikel 1

Iklan Tengah Artikel 2

Iklan Bawah Artikel